重磅信号!全国标准信息公共服务平台新公示94项“采信团标”拟立项国家标准,创下政策实施以来的历史,靠标准拓市场的企业,千万别错过这份政策红利。
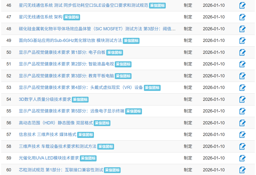
全国标准信息公共服务平台新公示显示,一批标记“采信团标”的拟立项国家标准项目正式亮相。本批项目数量94项,创下自2023年8月《推荐性国家标准采信团体标准暂行规定》(以下简称《暂行规定》)实施以来的历史,这对靠标准赢市场的企业来说,是实打实的政策红利。
此次公示的拟立项推荐性国家标准,均采信已实施满2年的团体标准。根据《暂行规定》,这类标准的制定周期被大幅压缩——从计划下达到报送报批材料不超过12个月,相比一般国家标准效率显著提升。更关键的是,起草过程可直接省略标准起草阶段,由归口技术委员会按规定完成征求意见和技术审查即可。


对企业而言,这意味着成熟的团体标准有了更快捷的升级通道。不用重复投入精力从零开始制定国标,既能保留自身标准的技术优势,又能借助国标的权威性扩大市场认可度。尤其对技术创新活跃的企业,这一政策能让创新成果通过标准快速转化,形成核心竞争力。
这已是《暂行规定》实施以来公示的第三批拟采信项目,也是2025年的第二批。从期初的零星项目到如今的批量公示,清晰传递出一个信号:未来,技术先进、具有引领性的团体标准被采信为推荐性国家标准,将成为行业常态。
政策红利的释放,为企业标准创新与升级提供了绝 佳契机。对拥有成熟团体标准的企业而言,把握“采信团标”这一政策窗口,将技术优势转化为标准优势,无疑是提升核心竞争力的重要路径。